GIỚI THIỆU HOẠT ĐỘNG CỦA VVT-I

#1
KHÁI QUÁT VỀ VVT-I

1.Giới thiệu hệ thống VVT-i trên ô tô


Thông thường, thời điểm phối khí được cố định, những hệ thống VVT-i sử dụng áp suất thủy lực để xoay trục cam nạp và làm thay đổi thời gian nạp. Điều này có thể làm tăng công suất, cải thiện tính kinh tế nhiên liệu và giảm khí xả ô nhiễm.
Hệ thống VVT-i (Variable Valve Timing intelligent) cho phép bạn thay đổi thời gian van một cách dễ dàng phù hợp với điều kiện vận hành của động cơ. Điều này đạt được bằng cách xoay trục cam nạp ứng với bánh răng truyền động trong phạm vi 40-60 ° (góc trục khuỷu).
d.png
1 - Van điều khiển VVT-i, 2 - cảm biến vị trí trục cam, 3 - cảm biến nhiệt độ nước làm mát, 4 - cảm biến vị trí trục khuỷu, ổ 5 - VVT.​
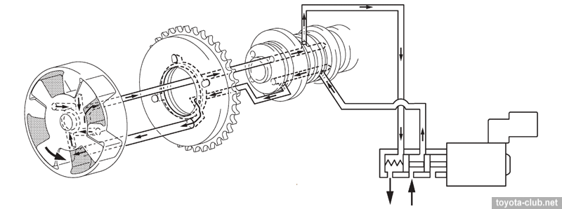
a. Bộ điều khiển VVT-i
- VVT với một cánh quạt được lắp đặt trên trục cam nạp. cánh quạt quay được điều khiển bởi dầu thủy lực. Khi tắt động cơ, “ khóa ” giữ trục cam ở vị trí trễ tối đa để đảm bảo khởi động bình thường. Một lò xo được sử dụng để điều hướng trục cam và khóa lò xo vận hành tự động sau khi tắt động cơ.
e.png
1-thân VVT-i, 2- khóa, 3- cánh quạt, 4- trục cam.
a-khi dừng lại; b- đang hoạt động.​
b. Van điều khiển dầu phối khí trục cam
- Van điều khiển dầu phối khí trục cam hoạt động theo sự điều khiển ( tỷ lệ hiệu dụng ) từ ECU động cơ để điều khiển vị trí của van ống và phân phối áp suất dầu cấp đến bộ điều khiển VVT-i để phía làm sớm hay làm chậm pha. Khi động cơ ngừng hoạt động, thời điểm phối khí xupap nạp được giữ ở góc muộn tối đa.
- Bộ điều khiển kiểm soát lưu lượng dầu bằng van, trong các khoang sớm và trễ của bộ truyền động VVTi, dựa trên các tín hiệu từ các cảm biến vị trí trục cam. Trên động cơ bị giới hạn, van trượt di chuyển với lò xo theo cách đảm bảo góc trễ tối đa.
f.png
a-lò xo, b- ống lót, c- ống chỉ, d- đường dầu (khoang sớm), e – đường dầu (khoang trễ), f – đường dầu hồi g – đường dầu đến, h- cuộn dây, j- pít tông.​

c. Các chế độ hoạt động:
-Sớm pha: Tín hiệu ECM chuyển sang vị trí dẫn trên và điều khiển dịch chuyển ống van. Dầu động cơ áp suất cao đi vào trục cam vào phía khoang sớm và quay cùng với trục cam theo hướng sớm pha.
g.png
- Trễ pha: Van chuyển sang vị trí trễ và di chuyển ống van điều khiển. Dầu động cơ áp suất cao đi vào trục cam từ bên của khoang trễ, quay nó cùng với trục cam theo hướng trễ pha.
h.png
-Giữ pha: ECM tính toán góc tiến cần thiết theo các điều kiện lái xe và sau khi đặt vị trí ổn định, chuyển van điều khiển sang vị trí trung tính cho đến khi thay đổi điều kiện bên ngoài. Ở điều điện này van đóng cả đường dầu đền và hồi.
i.png
Hình0: Đồ thị hoạt động của động cơ có VVTi​

2. Các dấu hiệu nhận biết VVT-I bị hỏng
  • Động cơ rung giậc khi nổ không tải
  • Tiêu hao nhiên liệu
  • Nổ máy buổi sáng máy kêu với cường độ 1-2 giây

3. Kiểm tra cụm bánh răng phối khí trục cam
a. Kiểm tra tình trạng khoá cứng của bánh răng phối khí trục cam:

Kẹp trục cam lên êtô và kiểm tra rằng bánh răng phối khí trục cam đã bị hãm cứng.
b. Nhả chốt khoá:
+ Bịt 4 đường dầu của cổ trục cam bằng băng dính như trên hình vẽ.
GỢI Ý: Một trong 2 rãnh nằm trên cổ trục cam là cho thời điểm làm muộn (phía trên) và rãnh còn lại là cho thời điểm làm sớm (phía dưới). Mỗi rãnh có 2 đường dầu.
+ Đâm thủng băng dính bịt phía đường dầu và cấp áp suất khí nén khoảng 150 kPa (1.5 kgf/cm2) vào 2 lỗ đã được thông (đường dầu phía sớm và phía muộn như hình vẽ).
j.png
+ Chắc chắn rằng bánh răng phối khí trục cam quay sang phía sớm khi giảm áp suất cấp vào đường làm muộn. Khi bánh răng phối khí trục cam chạm đến vị trí sớm nhất, hãy xả áp suất ở đường dầu phía làm muộn, và sau đó nhả áp suất ở đường dầu phía làm sớm.
CHÚ Ý: Cụm bánh răng phối khí trục cam thỉnh thoảng đột ngột chuyển sang phía làm muộn, nếu xả áp suất khí phía đường dầu phía làm sớm trước. Điều này sẽ dẫn đến làm gãy chốt hãm.
k.png
l.png
c. Kiểm tra sự quay vòng:
+ Hãy quay cụm van điều khiển dầu phối khí ra phía trước và sau vài lần, trừ vị trí chốt hãm ở góc làm muộn nhất. Hãy kiểm tra phạm vi dịch chuyển và xem nó có quay êm không.
+ Tiêu chuẩn: Phạm vi dịch chuyển tốt là khoảng 22.5°
CHÚ Ý: Hãy thực hiện phép kiểm tra này bằng tay, không được dùng khí nén.
d. Kiểm tra rằng nó khoá cứng ở vị trí muộn nhất:
Chắc chắn rằng cụm bánh răng phối khí trục cam bị khoá lại tại vị trí làm muộn nhất.
 
Sửa lần cuối:

Thống kê truy cập diễn đàn

Đang online: 12
Hôm nay: 1732
Hôm qua: 1967
Tuần này: 4904
Tháng này: 4904
Tổng truy cập: 4903
Top