Đèn cảnh báo phanh

#1
Đèn cảnh báo phanh tay
1599755936729.png
Điều đó có nghĩa gì nếu Đèn cảnh báo phanh của bạn bật? Nếu đèn luôn sáng, có thể là bạn đã quên nhả phanh tay (khẩn cấp). Đèn cảnh báo phanh vẫn sáng khi phanh được cài đặt để nhắc nhở. Nếu đèn cảnh báo phanh vẫn sáng khi nhả phanh tay thì có nghĩa là đã xảy ra lỗi. Trong một số trường hợp, đèn cảnh báo phanh có thể vẫn sáng nếu công tắc trên bàn đạp phanh tay hoặc cần gạt bị điều chỉnh sai. Không có gì sai với hệ thống phanh và một điều chỉnh đơn giản sẽ khắc phục được sự cố.

Lưu ý: Một số xe có đèn báo hoặc biểu tượng phanh tay riêng biệt. Biểu tượng trông giống như đèn báo phanh ở trên ngoại trừ nó có một chữ cái "P" ở vòng tròn trung tâm. Đèn cảnh báo phanh tay riêng thường được sử dụng trên các xe có phanh tay điện tử hoặc tự động

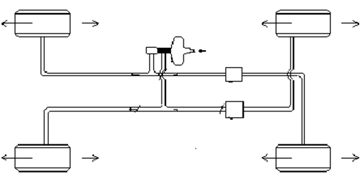
Nếu đèn cảnh báo phanh bật sáng nhấp nháy hoặc bật liên tục, điều đó có nghĩa là áp suất thủy lực đã bị mất ở một bên của hệ thống phanh hoặc mức chất lỏng trong xi lanh chính thấp đến mức nguy hiểm (do rò rỉ ở đâu đó trong hệ thống phanh). Trong cả hai trường hợp, cần kiểm tra mức chất lỏng trong xi lanh chính. Thêm dầu phanh vào bình chứa xi lanh chính có thể tạm thời giải quyết vấn đề. Nhưng nếu có rò rỉ, chất lỏng mới sẽ nhanh chóng bị mất và đèn cảnh báo sẽ sáng trở lại.

Trên một số ô tô, có một cảm biến mức dầu trong bình chứa dầu xi lanh chính. Nếu mức dầu thấp, đèn báo phanh sẽ bật sáng.

Đèn cảnh báo ABS
1599756052366.png
Trên các xe được trang bị phanh chống bó cứng (ABS), đèn cảnh báo thứ hai được cung cấp để cảnh báo nếu hệ thống ABS có vấn đề xảy ra. Đèn ABS bật sáng khi khởi động để kiểm tra bóng đèn, sau đó tắt sau khi động cơ khởi động. Nếu đèn cảnh báo ABS vẫn sáng hoặc bật sáng khi đang lái xe, điều đó cho thấy hệ thống ABS đã xảy ra lỗi.

Điều gì xảy ra tiếp theo phụ thuộc vào bản chất của lỗi. Trên hầu hết các ứng dụng, hệ thống ABS sẽ tự tắt nếu đèn cảnh báo ABS bật sáng và vẫn bật. Điều này sẽ không ảnh hưởng đến phanh bình thường. Mặc dù vậy, ABS sẽ KHÔNG khả dụng trong tình huống khẩn cấp hoặc khi phanh trên bề mặt ướt hoặc trơn.

THẬN TRỌNG: Nếu đèn cảnh báo phanh tay bật và vẫn sáng trong khi đèn cảnh báo ABS bật sáng, nó báo hiệu một vấn đề nghiêm trọng. Xe của bạn có thể không an toàn khi lái xe. Hệ thống phanh và ABS cần được kiểm tra ngay lập tức để xác định bản chất của vấn đề!

Nếu đèn ABS bật sáng trong giây lát rồi tắt, bản chất của vấn đề thường là nhỏ và hệ thống ABS thường vẫn hoạt động bình thường an toàn. Một số nhà sản xuất xe gọi loại lỗi này là lỗi "không khớp" (có nghĩa là không đủ nghiêm trọng để vô hiệu hóa hệ thống ABS).

Bất kể loại lỗi nào xảy ra để kích hoạt đèn cảnh báo ABS, mã sự cố sẽ được ghi lại trong bộ nhớ của mô-đun ABS để hỗ trợ chẩn đoán sự cố. Thường cần phải có máy để đọc mã này, mặc dù trên một số xe cũ, mã này có thể được đọc bằng cách đặt hệ thống ABS vào chế độ chẩn đoán đặc biệt. Mã số sau đó được hiển thị thông qua đèn cảnh báo ABS. Số mã đề cập đến biểu đồ chẩn đoán trong sổ tay dịch vụ phải được tuân theo để xác định thành phần bị lỗi. Việc chẩn đoán các vấn đề về ABS đòi hỏi một lượng kiến thức và chuyên môn tương đối (cũng như các thiết bị đặc biệt trong nhiều ứng dụng), vì vậy công việc này tốt nhất nên giao cho một thợ có năng lực.
--------------------------------------------------------------------------------------------------------
 

Đính kèm

Sửa lần cuối bởi điều hành viên:

Thống kê truy cập diễn đàn

Đang online: 18
Hôm nay: 26
Hôm qua: 2701
Tuần này: 6735
Tháng này: 6735
Tổng truy cập: 6735
Top